中国节能认证介绍
在当今环保意识日益增强的时代,节能认证对于电子电器产品至关重要。
在当今环保意识日益增强的时代,节能认证对于电子电器产品至关重要。它不仅是企业产品符合节能标准的有力证明,更是推动行业可持续发展的关键因素。接下来,就让我们深入了解一下中国节能认证的相关知识。
节能产品认证
节能产品认证,是指依据国家相关的节能产品认证标准和技术要求,按照国际上通行的产品质量认证规定与程序,经中国节能产品认证机构确认并通过颁布认证证书和节能标志,证明某一产品符合相应标准和节能要求的活动。我国的节能产品认证工作接受国家质量技术监督局的监督和指导,认证的具体工作由中国质量认证中心负责组织实施。

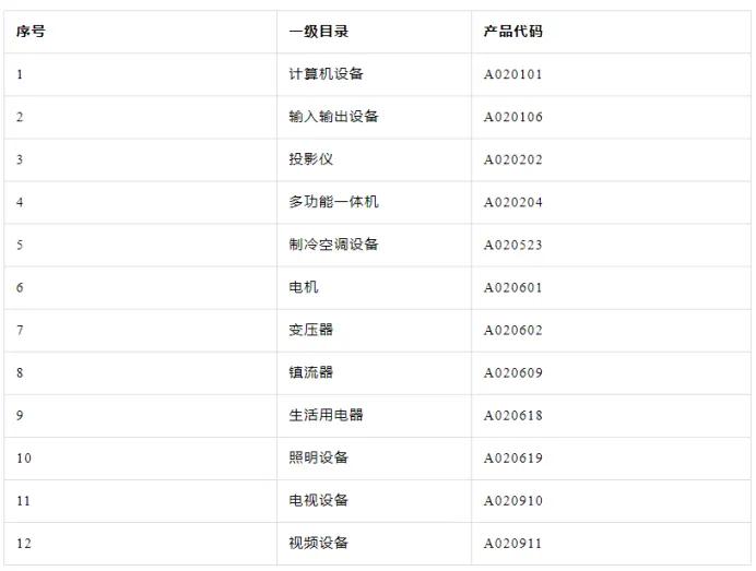
节能认证中常见电子电器产品

节能认证的模式为模式 5:型式试验 + 初始工厂审查 + 获证后监督。简单来说,企业需要送样到认证机构实验室进行测试,同时接受工厂审核。只有当样品测试和工厂审核都顺利通过,企业才能获得节能认证证书。并且,证书的有效期为 3 年。需要特别注意的是,申请节能认证的前提是产品已经获得 CCC 认证哦!
对于那些试图伪造、变造、冒用、非法买卖或者转让节能、低碳产品认证证书的行为,将会面临严厉的处罚,最高可被处以 3 万元人民币的罚款,同时相关违法主体还会被纳入全国统一的信用记录平台进行公示。
所需要的资料
申请资料
• 申请书:需填写CQC提供的正式申请书,可网络填写后打印或下载后寄到CQC
• 工厂检查调查表:首次申请时需提供。
• 产品描述:按照CQC相关产品描述文件进行填写。
• 品牌使用声明:明确品牌的使用情况及相关声明。
证明资料
• 注册证明:申请人、制造商、生产厂的营业执照
•CCC认证证书
• 代工协议:申请人为销售者、进口商时,须提交销售者和生产者、进口商和生产者订立的相关合同。
• 其他文件:工厂ISO证书
申请流程
开案申请
1.报价单 2.样品 3.申请表 4.特殊要求
确认草稿
公司名称和地址 产品名称和型号 产品参数 内部和外观图细节
证书颁发
正式证书 测试报告 技术文件归档:(工厂审核)(年度维护)(市场监督)
查询网址
http://cx.cnca.cn/CertECloud/result/skipResultList?